• 青青草狠狠干,青青草黄色在线视频,青青草污下载,青青草视频污版APP下载

    热门页面: 青青草黄色在线视频价格 大型青青草黄色在线视频球 磨机工作原理 青青草黄色在线视频衬板 湿式青青草黄色在线视频 矿石青青草黄色在线视频球 磨机型号 节能青青草黄色在线视频 溢流青青草黄色在线视频
    • 24小时青青草视频污版APP下载热线24小时青青草视频污版APP下载热线 15311826765
    • 添加微信添加微信 13811510145
    • 公司地址公司地址

      山东省烟台市福山高新技术产业区青青草狠狠干街188号

    首页 > 产品中心 > 筛分机 > 自定中心振动筛

    自定中心振动筛

    自定中心振动筛

    产品简介:一款传统的、应用广泛的振动筛,多用于中细粒筛分。

    处理能力:20~300t/h

    产品改进:采用青青草狠狠干耐磨橡胶制作弹性限位件;

    优势特点:

     自定中心振动筛

    振幅大,筛分效率高。

    采用青青草狠狠干耐磨橡胶筛网,寿命是钢制的3-10倍,是聚氨脂的2倍。

    寿命长、噪音小、维修方便。

    可提供座式和吊式两种形式的振动筛。

     自定中心振动筛

    自定中心振动筛由带有偏心性质的振动器使筛子产生振动。

    该振动筛特点如下:

    筛上物料在振动作用下能达到很好的松散和分层;

    该振动筛的配重质量大小可以调节,可根据生产要求调节筛子振幅大小;

    当给矿量发生变化时,振幅也变化。给矿量少时振幅加大振动加剧,给矿量多时振幅变小。给矿量的变化将影响“动力平衡”,从而使皮带轮中心产生一些振动;

    适用于中、细粒筛分而不适应粗物料筛分。

    24小时青青草视频污版APP下载热线 15311826765

    如果您有任何的问题,请通过以下方式联系青青草狠狠干,青青草狠狠干将给您更多更好的协助!

    产品简介

     自定中心振动筛

    自定中心振动筛的使用范围:主要适用于矿山、煤炭、冶金、建材、化工等部门对中细粒度物料进行分级之用。

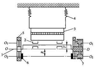
    产品结构

     自定中心振动筛
    • 主轴
    • 轴承
    • 筛框
    • 弹簧悬挂装置
    • 偏重轮
    • 偏心轴
    • 皮带轮

    产品FAQ

    1、自定中心振动筛检查与维护?

    日常维护:

    (1)应每天检查电机轴承温度是否超温。

    (2)检查筛网、压板、筛篦磨损情况。

    (3)检查吊杆、弹簧受力状况是否均匀。

    定期检查:

    (1)定期检查轴承润滑情况。

    (2)定期检查弹簧吊杆、磨损情况。

    (3)检查筛网磨损状况。

    (4)检查各螺栓联结处是否松动。

    (5)检查振幅、筛分率是否符合要求。

    (6)检查振动噪音、筛面倾角是否有变化。

    2、物料的物理性质对自定中心振动筛的影响有哪些?

    筛分过程的技术经济指标是筛分效率和生产率,前者为质量指标,后者为数量指标。它们之间有一定的关系,同时还与其他许多因素有关,这些因素决定筛分的结果。

    被筛分物料的物理性质对筛分过程会产生较大的影响:包括物料本身的粒度组成、湿度、含泥量和粒子的形状等。当物料细粒含量较大时,筛子的生产率也大。当物料的湿度较大时,一般来说筛分效率都会降低。但筛孔尺寸愈大,水分影响愈小,所以对于含水分较大的湿物料,为了改善筛分过程,一般可以采用加大筛孔的办法,或者采用湿式筛分。物料含泥量大(当含泥量大于8%时)应当采用湿式筛分,或预先洗矿。

    3、自定中心振动筛的维修及注意事项?

    (1)对振动筛进行定期检查时所发现的问题,应进行修理。振动筛修理内容包括及时调整三角带拉力、更换新带、更换磨损的筛面以及纵向垫条、更换减振弹簧、更换滚动轴承、传动齿轮和密封、更换损坏的螺栓、修理筛框构件的破损等。

    (2)筛框侧板及梁应避免发生应力集中,振动筛因此不允许在这些构件上施以焊接。振动筛对于下横梁开裂应及时更换,侧板发现裂纹损伤时,应在裂纹尽头及时钻5mm孔,然后在开裂部位加补强板。激振器的拆卸、修理和装配应由专职人员在洁净场所进行。

    (3)振动筛拆卸后检查滚动轴承磨损情况,检查齿轮齿面,检查各部件联接情况,清洗振动筛箱体中的润滑回路使之畅通,清除各结合面上的附着物,更换全部密封件及其他损坏零件。

    振动筛维修时应特别注意:

    (1)激振器及传动装置拆卸应由有经验的技术工人进行,振动筛严禁野蛮操作,振动筛防止损坏设备。振动筛装配前应保持零件洁净。

    (2)振动筛更换后的新筛网应每隔4-8h重新张紧一次,振动筛直到完全张紧为止。

    技术参数

    型号 规格 最大给料粒度(mm) 处理能力 (t/h) 电机 型号 电机功率 (kw) 重量 (kg) 备 注
    SZZ0918 900×1800 40 20~25 Y100L1-4 2.2 420 吊式
    SZZ0918 900×1800 40 20~25 Y100L1-4 2.2 553 座式
    2SZZ0918 900×1800 40 20~25 Y100L1-4 2.2 570 座式
    SZZ1225 1250×2500 100 100 Y132S-4 5.5 1020 吊式
    SZZ1225 1250×2500 100 100 Y132S-4 5.5 1330 座式
    2SZZ1225 1250×2500 100 100 Y132S-4 5.5 1320 吊式
    2SZZ1225 1250×2500 100 100 Y132S-4 5.5 1335 座式
    SZZ1530 1500×3000 100 200 Y132M-4 7.5 1650 吊式
    SZZ1530 1500×3000 100 200 Y132M-4 7.5 1700 座式
    2SZZ1530 1500×3000 100 200 Y132M-4 7.5 2870 吊式
    2SZZ1540 1500×4000 100 250 Y160L-4 15 4240 座式
    SZZ1836 1800×3600 150 300 Y180M-4 18.5 4500 吊式
    2SZZ1836 1800×3600 150 300 Y180M-4 18.5 5616 座式

    相关信息

    

    在线留言

    您可以在下面表格填写您的需求信息,青青草狠狠干的技术与销售人员会尽快与您取得联系。为保证能及时处理您的信息,请务必准确填写您的联系电话!

    • 请您填写详细的需求信息:

    • 如果以上信息无法满足您的需求,请在此填写您的具体需要。

    版权所有 ©山东青青草狠狠干矿业技术装备股份有限公司 2011-2018 鲁ICP备57659680号-115 公安网备案鲁公网安备 37061102001222号
    网站地图